Кварц Прибор приемно-контрольный охранно-пожарный

Сибирский Арсенал Кварц Кварц изображение 2Кварц изображение 3Кварц изображение 4Кварц изображение 5Кварц изображение 6
Фото 1
Фото 2
Фото 3
Фото 4
Фото 5
Фото 6
5390 просмотров
5145.00 ₽
Рекомендованная цена
4 655 ₽
Интернет-цена

В наличии
Склад МО, Домодедово: 3 шт
Склад поставщика: > 10 шт

Оставить отзыв

Прибор приемно-контрольный охранно-пожарный, 1 зона, 2 ПЦН, эл. ключ, под аккумулятор 1,2 Ач. Прибор приёмно-контрольный и управления охранно-пожарный, 12 шлейфов сигнализации, передача информации на ПЦН осуществляется по сетям ETHERNET (Internet, локальные сети) с помощью WiFi-коммуникатора и ETHERNET или GSM/GPRS с помощью GE-коммуникатора. Предназначен для работы в составе систем передачи извещений Горизонт и ЛАВИНА в качестве объектовых приборов. ППКУОП обеспечивает централизованную и локальную охрану объектов, оборудованных электроконтактными и токопотребляющими охранными и пожарными передачей информации о тревожных сообщениях и прочих событиях на специально оборудованный пульт централизованного наблюдения.

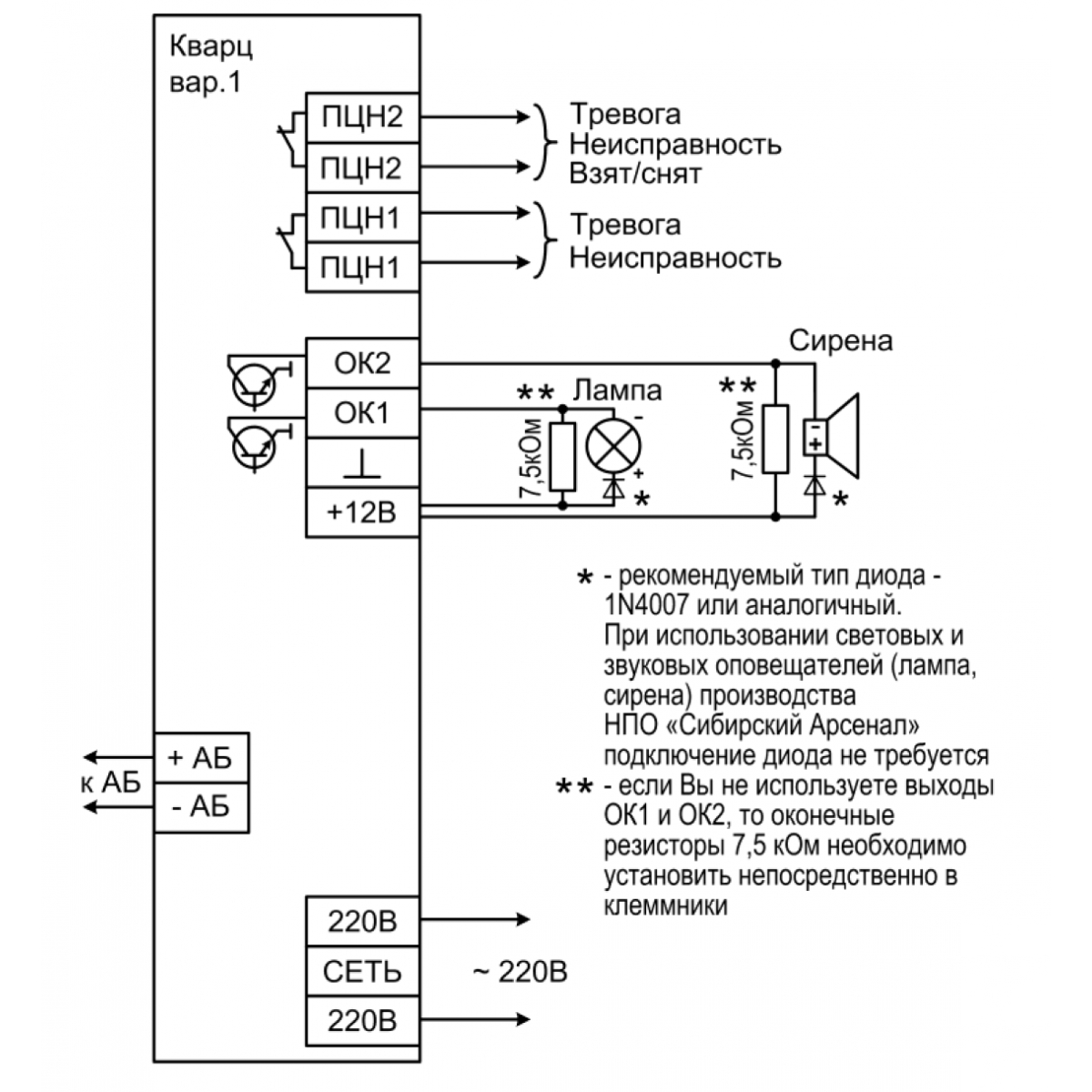
Назначение: простой в применении, доступный одношлейфный прибор Кварц вариант 1 предназначен для охраны малых и средних объектов. Эти объекты оборудуются электроконтактными и токопотребляющими охранными извещателями. При срабатывании прибора, извещения на пульт централизованного наблюдения передаются двумя выходными реле (ПЦН1 и ПЦН2). Прибор ставится на охрану и снимается с охраны или с помощью электронных ключей или выключателя. Тактика работы прибора выбирается установкой перемычек на плате.

Основные особенности Кварц:

  • Один шлейф охранной сигнализации.
  • Четыре тактики работы прибора выбираются перемычками.
  • Обеспечивается выдача сигналов на внешние световой и звуковой оповещатели.
  • Встроенный звуковой сигнализатор с возможностью отключения.
  • Постановка/снятие ШС осуществляется выключателем или ключами Touch Memory.
  • Прибор имеет отключаемый и неотключаемый выходы 12 В.
  • Встроенный источник питания от сети 220 В, резервное питание от аккумулятора.
  • При питании прибора от сети осуществляется подзарядка аккумулятора в буферном режиме.
  • Для продления срока службы аккумулятора в приборе предусмотрена электронная защита аккумулятора от глубокого разряда.

Технические характеристики:

Количество шлейфов сигнализации

1 шт.

Количество основных видов извещений прибора

9

Ёмкость памяти кодов идентификаторов (кол-во эл. ключей) (тип используемых с прибором электронных ключей TM – DS1990А)

7 шт.

Напряжение на входе ШС при его номинальном сопротивлении

18 ± 3 В

Суммарная токовая нагрузка в ШС в дежурном режиме, не более

1,5 мА

Напряжение / ток выходов реле ПЦН 1 и ПЦН 2 («сухой контакт» оптореле), до

75 В / 50 мА

Максимально допустимый общий ток потребления по отключаемому выходу 12 В «ПИ» для питания извещателей, не более

100 мА

Максимально допустимый общий ток потребления по неотключаемому выходу «+12В» для питания извещателей и оповещателей, не более

600 мА

Ток коммутации по каждому из выходов ОК: «ОК1» и «ОК2», не более (при этом суммарный ток коммутации выходов ОК при питании оповещателей от внутреннего источника прибора +12 В не должен превышать максимально допустимый - 600 мА)

500 мА

Регистрируются нарушения ШС длительностью, более

70 мс

Не регистрируются нарушения ШС длительностью, менее

50 мс

Напряжение питания сети (переменный ток 50 Гц)

187...242 В

Мощность, потребляемая от сети (с заряженным аккумулятором и при отсутствии внешних потребителей) во всех режимах, не более

8 ВА

Напряжение питания от аккумулятора

11,8...14,0 В

Номинальная емкость резервного аккумулятора

1,2 Ач

Ток потребления от аккумулятора в дежурном режиме/режиме тревоги (при отсутствии внешних потребителей), не более

40/65 мА

Масса без аккумулятора, не более

0,5 кг

Габаритные размеры, не более

186x151x60мм

Степень защиты, не менее

IP40

Срок службы, лет

10

Диапазон рабочих температур

-30…55 °С

Характеристики:
  • Тип ППК: Охранный, Пожарный
  • Производитель: Сибирский Арсенал
  • Кол-во проводных шлейфов: 1
  • Интерфейсы для обмена и программирования: GSM, Ethernet, Wi-Fi
  • Класс пыле-/влагозащиты: 40
  • Кол-во Сухой контакт: 2
  • Место под АКБ (А/ч): 1.2
  • Снятие-постановка: Touch Memory, Выключатель
  • Тип питания: 220 В
Документация:
  1. Паспорт (Инструкция)
Техническая консультация
Самовывоз из офиса:
    Пункт выдачи:*
      Доставка курьером:*
        Транспортные компании:
          Почта России:*
            * Срок доставки указан для товара в наличии на складе в Москве
            Отзывы:

            Ваш отзыв может быть первым!